张家界锦程驾校预约系统操作指南
1, 预约方式:
a,直接登录预约平台:http://118.254.8.105:9000/servplat/
b,百度【张家界锦程驾校】,进入到锦程驾校的官网http://www.zjjjcjx.com,选择【在线预约】。
c,驾校大厅插学员卡预约。


2,注册预约平台账号
2.1进入预约系统平台首页;

2.2第一次登陆预约系统后进行用户注册,依次填写学员的【身份证号码】,系统登陆的【会员名】,两次输入【登陆密码】,以及【电子邮箱】,输入完成后点击注册,会有注册成功的提示框;

注:忘记用户名密码的话,可用邮箱进行找回,还可以联系驾校管理员查看平台会员名和重置登陆密码。
3,登陆系统:成功登陆后,进入到学员个人的系统首页。

3.1 用户信息:可以看到学员的账号、姓名、编号以及驾照类型,可再次确认个人身份。
3.2 培训预约:

注:需在驾校分配学员预约学时后学员才能预约。

注:理论合格才能预约科目二;科目二合格才能预约科目三。

注:当天不能预约训练,暂时最多只能预约到3天后的训练、当天只能预约2个课时。



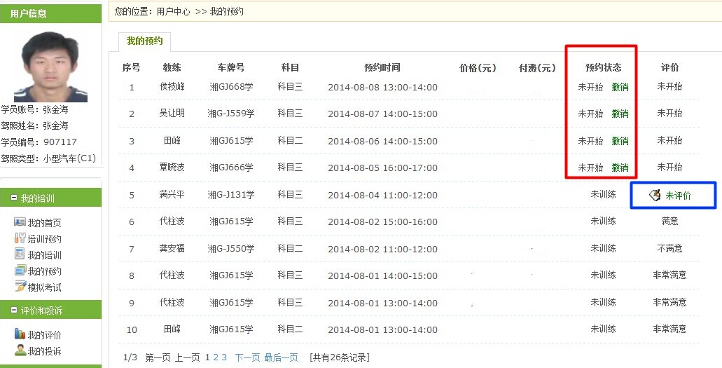
注:欠费不能再次预约,不评价教练不能再次预约。
3.4 我的培训详情:可以查看学员自己的训练情况。


